



About
The 706-1W plug target has a dual width, bi-filar line pattern which is machine engraved and black-filled on white plastic. This target is often used as a reference target for a variety of machinery alignments. The white target body provides a good contrast with the black target lines under typical lighting conditions.
The target pattern is centered on the plug within ±0.001″ (0.025mm). Target spacings of 0.010″ and 0.020″ allow shot distances up to 25 feet (7.6m). Shank diameter is 0.250″.
May Be Used With
- 740-A Adjustable Floor Target Mount
- Any fixture having ¼” target mount holes
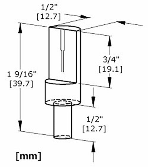
The 706-1W plug target has a dual width, bi-filar line pattern which is machine engraved and black-filled on white plastic. This target is often used as a reference target for a variety of machinery alignments. The white target body provides a good contrast with the black target lines under typical lighting conditions.
The target pattern is centered on the plug within ±0.001″ (0.025mm). Target spacings of 0.010″ and 0.020″ allow shot distances up to 25 feet (7.6m). Shank diameter is 0.250″.
May Be Used With
- 740-A Adjustable Floor Target Mount
- Any fixture having ¼” target mount holes

